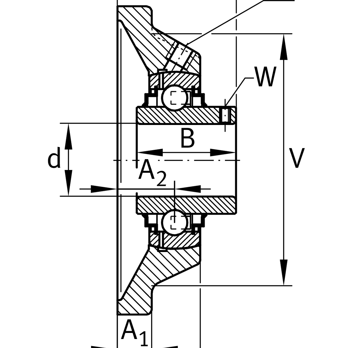
RCJY 35 / INA (UCF 207)

Značka: INA
Skladom 5 ks na dopyt
+
-
ks