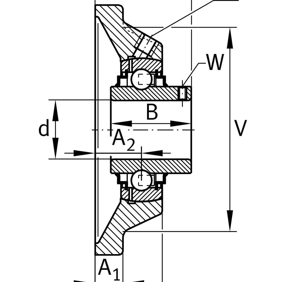
RCJY 60 - INA

Rozmer: 60x175x Značka: INA
Skladom 1 ks na dopyt
+
-
ks